Zu7
JAKA Zu7
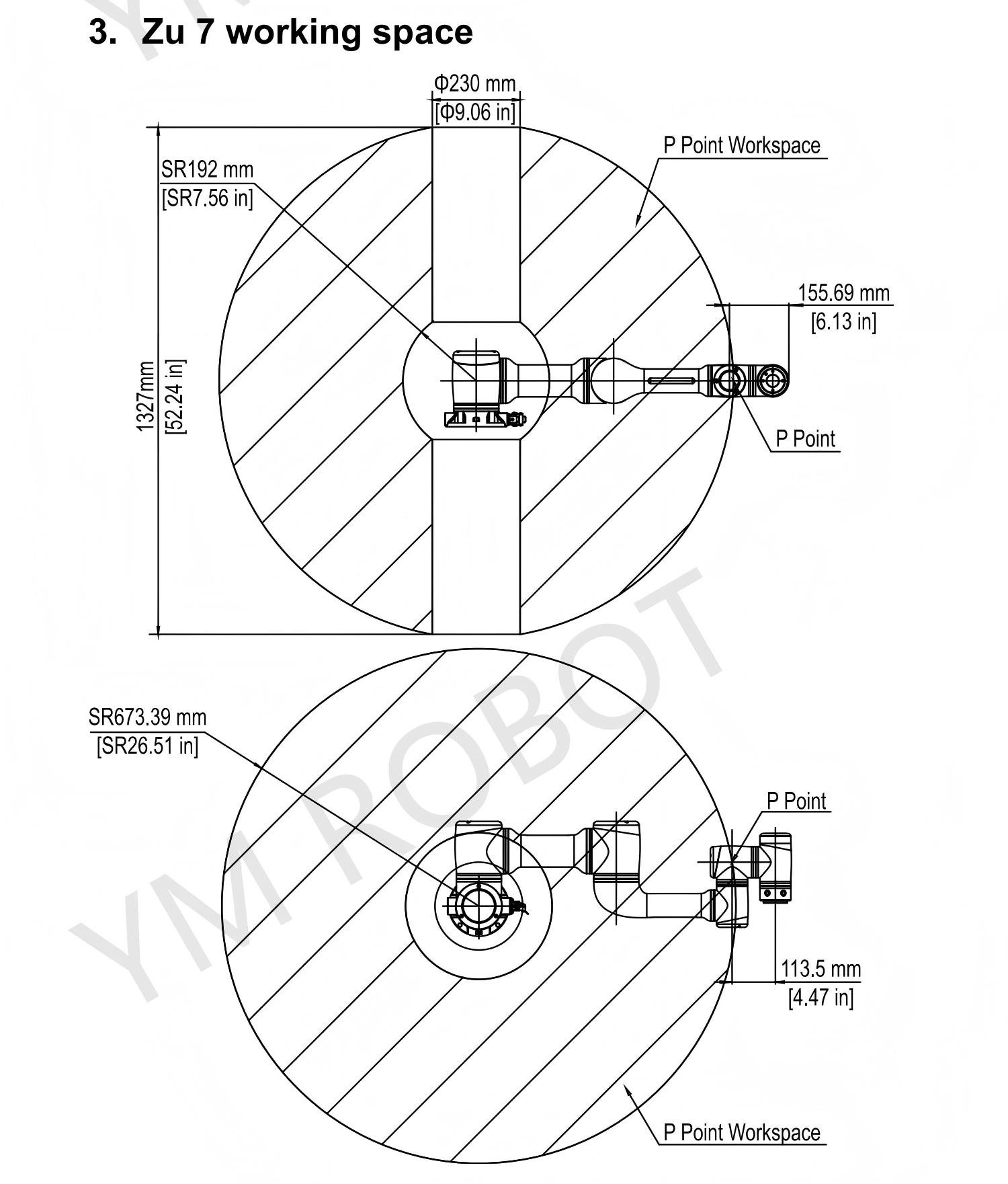
Payload: 7 kg, Weight: 22 kg, Reach: 819 mm
Human-Machine-Environment Collaborative Integration Payload: 7 kg, Self-Weight: 22 kg, Reach: 819 mm Integrated joint design for easy assembly and disassembly High payload-to-weight ratio balancing flexibility and strength Embodying the “Human-Machine-Environment Collaborative Integration” philosophy, high-safety design eliminates the need for isolation barriers.






Write your message here and send it to us







